Ford Motor Company has filed a patent for an animal detection system that may be used in future Ford vehicles, Ford Authority has learned.
The patent was filed on April 18th, 2024, published on October 23rd, 2025, and assigned serial number 0324942.
The Ford Authority Take
Ford has published quite a few patents centered around animals in recent years, with many of them focused on ways to make our pets a bit more comfortable or safer when riding in vehicles. However, The Blue Oval also recently published a patent for a large animal detection system, which could help detect the presence of animals such as deer, even predicting its trajectory and working to avoid a collision. Now, this newly published patent expands upon that concept with a new idea for an animal detection system that may be used in future Ford vehicles, too.
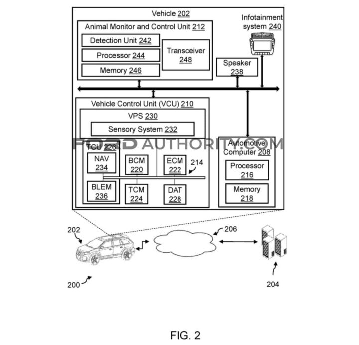
In this case, Ford's proposed system would work to detect the presence of all kinds of animals around a vehicle - whether they be pets or wild animals. Oftentimes, it can be difficult to see when this is the case, which is precisely what this system is designed to help with. It would be able to detect the presence of animals near a vehicle, and send that info to a server, which could be used for various reasons - including tracking a lost pet. In fact, the system could even determine if that's the case, and then alert the owner, sending them images and the pet's last known location.
"Submitting patent applications is a normal part of any strong business as the process protects new ideas and helps us build a robust portfolio of intellectual property,” Ford said in a statement. “The ideas described within a patent application should not be viewed as an indication of our business or product plans. No matter what the patent application outlines, we will always put the customer first in the decision-making behind the development and marketing of new products and services."



Comments
They need something to tell you when mice or other rodents are nesting in the car.
If this could help with avoiding deer hits, I'm all for it!